La marque Motorola profite d'une certaine aura dans l'univers de la téléphonie mobile et s'est présentée, dans le passé, comme un fabricant innovant. Récemment, elle a étonné son monde en commercialisant, il y a deux ans, le Motorola Razr 2019, un appareil à clapet doté d'un écran pliant. Une autre version a ensuite été proposée sur le marché, le Razr 5G mais seulement dans certains pays. Depuis, dans ce domaine, c'est le silence radio et nous n'avons pas entendu parler d'une quelconque nouvelle série. Cela pourrait bien changer à la faveur de la découverte d'un brevet déposé auprès de l?OMPI, l'office mondial de la propriété intellectuelle pour un nouveau modèle de smartphone pliant.
Un écran externe qui fait le tour de l'appareil
Le brevet déposé par Motorola montre un appareil électronique qui est un téléphone portable. Celui-ci est assez grand et d'une forme plutôt haute, faisant penser au Motorola Razr mais également au Samsung Galaxy Z Flip3 et Huawei P50 Pocket, par exemple qui utilise ce principe de clapet pour se refermer et proposer ainsi plié une forme extrêmement compacte. Mais le brevet décrit la présence d'un écran à l'extérieur plutôt qu?à l'intérieur comme c'est le cas sur les modèles précédemment cités. La surface d'affichage est donc prévue autour de l'appareil ce qui fait que lorsqu'il est plié, il y a un écran de chaque côté.

Plus d'ergonomie ainsi ?
Il est vrai que pour avoir testé des smartphones pliants comme le Samsung Galaxy Z Flip3 ou le Huawei P50 Pocket, on peut apprécier le fait d'avoir un appareil extrêmement compact en poche mais leur écran externe, très petit, ne permet pas d'offrir beaucoup de fonctionnalités et finalement on se retrouve à devoir ouvrir le mobile peut-être plus de fois qu'il ne le faudrait, sollicitant ainsi la charnière et la consommation de batterie, seulement pour répondre à un message, par exemple. Un écran plus grand qui pourrait accueillir des fonctionnalités pertinentes ne serait pas totalement saugrenu au regard de l'ergonomie générale de ce type de format.

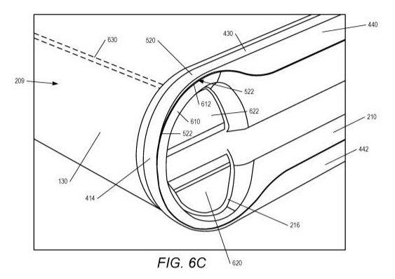
Sur le brevet déposé par Motorola, on peut voir une partie qui est réservée pour installer les capteurs photo avec, du coup, la surface d'affichage qui est plus courte d'un côté que de l'autre. Un dessin détaillé de la charnière montre une forme particulièrement arrondie au niveau de la pliure permettant de moins la voir une fois l?écran déplié. Plusieurs pièces de la charnière sont extrêmement spécifiques et aideraient au maximum à limiter la cassure et à assurer un confort de manipulation optimal.

Comme pour chaque dépôt de brevet que nous vous présentons, celui-ci est à prendre avec les pincettes de rigueur, car rien de concret ne nous dit qu'un tel modèle sera un jour commercialisé par la société à l'origine des documents. Disons que cette nouvelle conception présente plusieurs avantages non négligeables.