BlackBerry le sait bien : créer une interface homme-machine sur un smartphone n'a rien de bien évident. La force de l'entreprise canadienne était l'intégration dans ses terminaux d'une trackball similaire à la boule d'une souris d'ordinateur traditionnelle, en remplacement des croix directionnelles. Ce composant était assez révolutionnaire, car il offrait une agilité encore inédite dans la navigation des systèmes d'exploitation nomades. Ce trackpad a été ensuite remplacé successivement par un trackpad tactile, moins efficace, mais largement plus durable (la poussière était le point faible des souris, comme de la trackball de BlackBerry), puis l?écran tactile avec le succès que nous lui connaissons aujourd?hui. Aujourd?hui revenu à ses fondamentaux, BlackBerry sait que les boutons matériels sont tout aussi importants que les écrans tactiles.
Un bouton TouchID adaptable ?
Chez Apple, l'interface est une combinaison entre interaction tactile et pression sur le bouton « home ». Véritable centre névralgique de la navigation dans iOS, TouchID sert à activer le mobile, lire une empreinte digitale, réduire une application, accéder à Siri et gérer les applications en arrière-plan. Et s'il était capable d'offrir une navigation aussi intuitive et efficace que le trackpad de BlackBerry ? Et s'il était capable de remplacer un joystick dans les jeux ? Et si le bouton « home » offrait une adaptabilité ? C'est le sujet de cet article et d'un brevet déposé en juillet 2013 et validé par l?USPTO il y a deux jours.

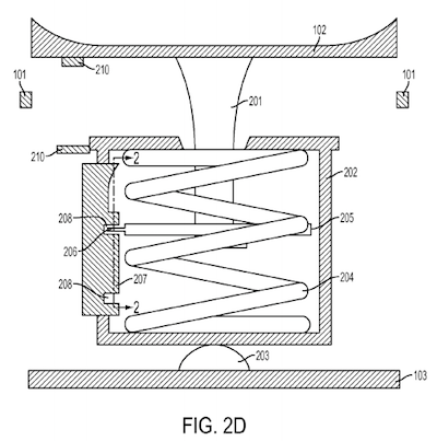
Ce brevet détaille comment TouchID pourrait être monté sur un ressort. En pressant dessus, le ressort active un mécanisme qui débloque une plate-forme et le fait changer de position. Comparez cela à un stylo bille : quand vous appuyez sur le bouton, la mine sort. Appuyez à nouveau et la mine rentre. Les deux positions offrent à « Home » deux usages différents. Un usage traditionnel en mode standard. Un usage multidirectionnel en position haute, TouchID étant surélevé sur un axe.
Ce joystick pourrait être utile autant dans les applications ludiques, pour remplacer un pad virtuel, qu'en bureautique ou sur Internet, pour remplacer une souris. Ce que nous n'arrivons cependant pas à comprendre c'est le mécanisme qui permet de faire la distinction entre un appui classique (pour fermer une application) et un appui pour changer la configuration de TouchID...

Un brevet innovant vis-à-vis de la concurrence
Ce brevet est très intéressant et, s'il était véritablement appliqué à un iPhone ou à un iPad, apporterait à Apple un avantage industriel considérable vis-à-vis des concurrents, notamment Samsung et BlackBerry qui s'appuient plus volontiers sur des stylets et des claviers complets. Reste à savoir comment cela modifierait iOS et comment les développeurs s'empareront de cette potentielle fonctionnalité. Vous noterez que le design d'iPhone utilisé dans le brevet, déposé il y a un an et demi, ressemble étonnamment à celui de l'iPhone 6...