Le projet Valley, le smartphone à écran pliable qui fait l'objet de plusieurs rumeurs depuis un an, semble avoir pris du retard. Attendu initialement pour le mois de janvier, le mobile pourrait tout de même apparaître dans le courant de l'année 2016. Les projections de Samsung, qui date de 2014, estimaient en effet qu'une première commercialisation serait possible cette année. Comment expliquer ce retard ? Difficile de le dire, évidemment. Cependant, Samsung ne semble pas manquer d'idée pour mener à bien ce projet très ambitieux. Si plusieurs brevets ont déjà été déposés par la firme coréenne, que ce soit dans son pays ou aux États-Unis, celui que nous vous présentons aujourd?hui est certainement celui qui se rapprocherait le plus de la réalité.

Une charnière spéciale pour protéger la dalle flexible
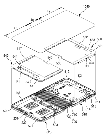
Dans les images qui accompagnent cet article, vous pouvez donc découvrir un appareil aux spécificités très innovantes. Dans le brevet de Samsung, soumis le 11 mars dernier, mais non validé à l?heure où nous écrivons ces lignes, le système de charnière qui accompagne la pliure de l?écran tactile est entièrement détaillé. Les travaux de Samsung l'ont amené à créer un smartphone sur trois couches différentes. La première est l?écran tactile flexible qui, une fois plié, n'est pas plat en son milieu. La seconde est le renfort de l?écran tactile qui le soutient autant sur les côtés qu?à l'arrière. Ces deux renforts, physiquement indépendants, sont posés sur une troisième couche qui compose la coque et la charnière.

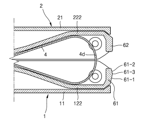
L'idée est donc la suivante : quand vous pliez le smartphone, la charnière protège l?écran tactile au niveau de la pliure pour respecter son rayon de courbure minimal et éviter qu'il ne se casse. La partie interne de la charnière est composée de plusieurs bandes qui permettent de plier et déplier le smartphone. La partie externe comprend également plusieurs parties certainement métalliques qui assurent la protection de cette partie sensible. Ces schémas sont très intéressants.
Des changements ergonomiques considérables
Évidemment, avec une telle configuration physique, les éléments technologiques doivent être répartis entre les deux parties de la coque externe. Nous pensons notamment à la batterie qui ne sera certainement plus longiligne comme c'est le cas aujourd?hui, mais davantage carrée. Elle devrait être postée là où se situera le port USB (microUSB ou USB type-C) pour brancher l'adaptateur secteur. Nous pensons aussi à la carte mère qui ne longera plus la batterie, mais sera indépendamment posée, certainement à l'opposé de la batterie.

De tels schémas sont très précis. Il devrait s'agir de travaux réalisés en vue de créer Project Valley. Reste deux questions : à quel point ces schémas sont-ils proches de la réalité et quand pourrait réellement être commercialisé un tel téléphone ? Car, si Samsung en est encore à déposer des brevets, cela sous-entend que la production n'est pas lancée. Nous ne sommes donc pas près de tester un mobile avec écran pliable. Pas en ce début d'année en tout cas.